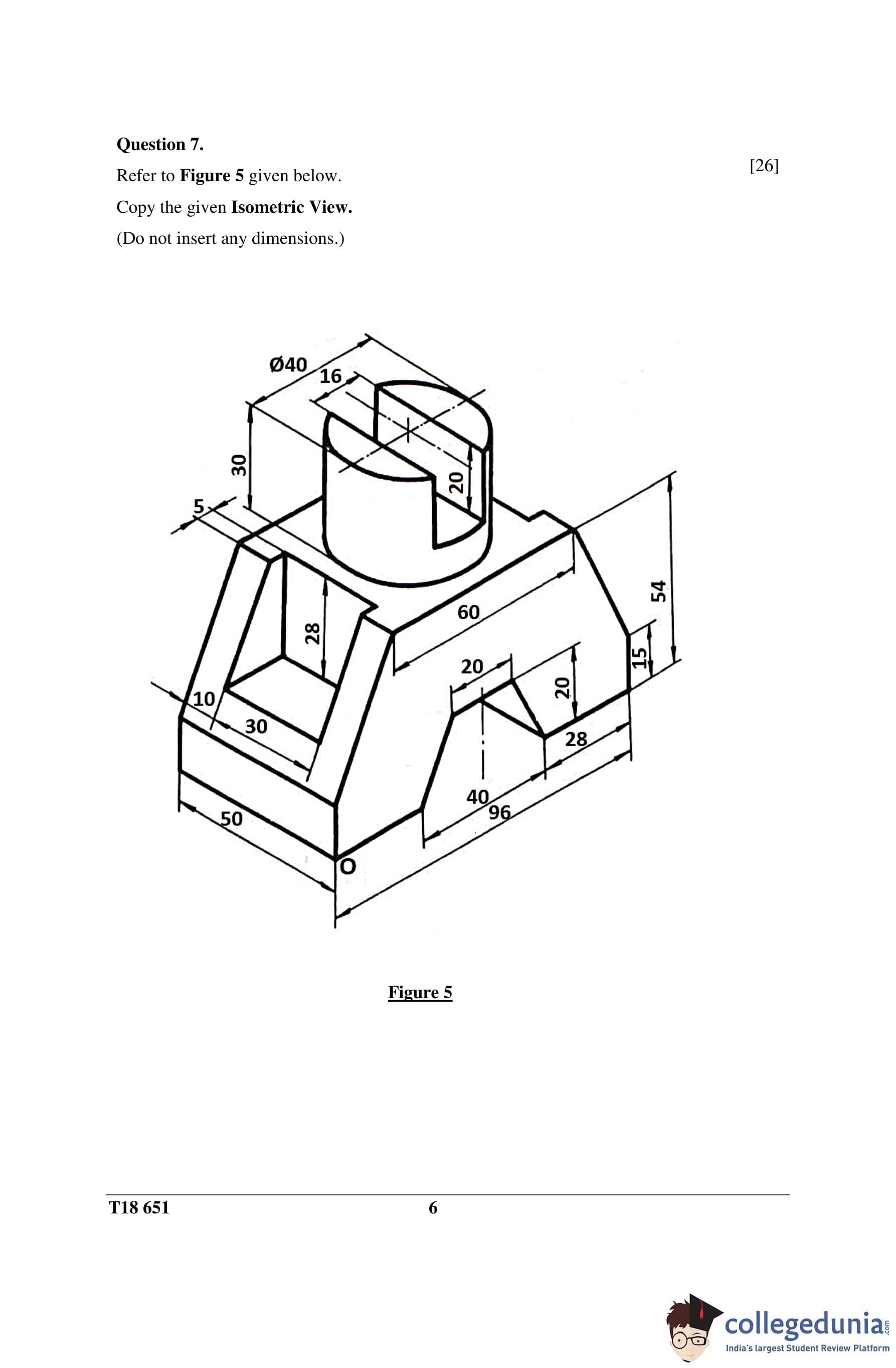
ICSE Class 10 Technical Drawing Applications Question Paper 2018 with Answer Key pdf is available for download here. The exam was conducted by Council for the Indian School Certificate Examinations on March 23, 2018 in the Morning Session 11 AM to 2 PM. The question paper comprised a total of 8 questions divided among 2 sections.
ICSE Class 10 Technical Drawing Applications Question Paper 2018 with Answer Key
| ICSE Class 10 Technical Drawing Applications Question Paper 2018 PDF | ICSE Class 10 Technical Drawing Applications Answer Key 2018 PDF |
|---|---|
| Download PDF | Available Soon |







Comments