NEET 2024 Question paper with answer key pdf R1 is available for download. NEET 2024 R1 question paper has been conducted by the NTA on May 5, 2024, in pen-paper mode. NEET 2024 question paper code R1 consists of 200 MCQs- 180 to be attempted in 200 minutes. Each of the 4 subjects (Zoology, Botany, Chemistry, Physics) in NEET R1 question paper 2023 have 50 MCQs (45 to be attempted). You can download NEET 2024 question paper with answer key with solutions PDF for R1 using the links given below.
Download NEET 2025 Question Paper PDFs for all Codes
NEET 2024 Question Paper with Answer Key PDF R1 in English
| NEET 2024 Question Paper with Answer Key | Check Solutions |
Question 1:
A wheel of a bullock cart is rolling on a level road as shown in the figure below. If its linear speed is v in the direction shown, which one of the following options is correct (P and Q are any highest and lowest points on the wheel, respectively)?

Correct Answer: (2) Point P moves faster than point Q
View Solution
Match List-I with List-II:
Question 3:
A thermodynamic system is taken through the cycle \(abcda\). The work done by the gas along the path \(bc\) is:
The terminal voltage of the battery, whose emf is \(10 \, \mathrm{V}\) and internal resistance \(1 \, \Omega\), when connected through an external resistance of \(4 \, \Omega\) as shown in the figure, is:
In an ideal transformer, the turns ratio is \(\frac{N_P}{N_S} = \frac{1}{2}\). The ratio \(V_S : V_P\) is equal to (the symbols carry their usual meaning):
A light ray enters through a right-angled prism at point \(P\) with the angle of incidence \(30^\circ\) as shown in the figure. It travels through the prism parallel to its base \(BC\) and emerges along the face \(AC\). The refractive index of the prism is:
The quantities which have the same dimensions as those of solid angle are:
A thin flat circular disc of radius \(4.5 \, \mathrm{cm}\) is placed gently over the surface of water. If the surface tension of water is \(0.07 \, \mathrm{N/m}\), then the excess force required to take it away from the surface is:
Given below are two statements: one is labelled as Assertion A and the other is labelled as Reason R.
Assertion A: The potential (\(V\)) at any axial point, at 2 m distance (\(r\)) from the center of the dipole of dipole moment vector \(\vec{P}\) of magnitude, \(4 \times 10^{-6} \, \mathrm{C \, m}\), is \(\pm 9 \times 10^3 \, \mathrm{V}\).
(Take \(\frac{1}{4 \pi \epsilon_0} = 9 \times 10^9 \, \mathrm{SI \, units}\))
Reason R: \(V = \pm \frac{2P}{4 \pi \epsilon_0 r^2}\), where \(r\) is the distance of any axial point, situated at 2 m from the center of the dipole.
In the light of the above statements, choose the correct answer from the options given below:
In a uniform magnetic field of \(0.049 \, \mathrm{T}\), a magnetic needle performs \(20\) complete oscillations in \(5 \, \mathrm{s}\). The moment of inertia of the needle is \(9.8 \times 10^{-6} \, \mathrm{kg \, m^2}\). If the magnitude of the magnetic moment of the needle is \(x \times 10^{-5} \, \mathrm{Am^2}\), then the value of \(x\) is:
If the monochromatic source in Young's double-slit experiment is replaced by white light, then:
Given below are two statements:
Statement I: Atoms are electrically neutral as they contain equal numbers of positive and negative charges.
Statement II: Atoms of each element are stable and emit their characteristic spectrum.
In the light of the above statements, choose the most appropriate answer from the options given below:
The maximum elongation of a steel wire of \(1 \, \mathrm{m}\) length if the elastic limit of steel and its Young's modulus, respectively, are \(8 \times 10^8 \, \mathrm{N/m^2}\) and \(2 \times 10^{11} \, \mathrm{N/m^2}\), is:
Consider the following statements A and B and identify the correct answer:
A. For a solar-cell, the \(I-V\) characteristics lie in the IV quadrant of the given graph.
B. In a reverse biased \(pn\)-junction diode, the current measured (in \(\mu A\)) is due to majority charge carriers.
A particle moving with uniform speed in a circular path maintains:
If \( c \) is the velocity of light in free space, the correct statements about photons among the following are:
A. The energy of a photon is \( E = h\nu \).
B. The velocity of a photon is \( c \).
C. The momentum of a photon, \( p = \frac{h\nu}{c} \).
D. In a photon-electron collision, both total energy and total momentum are conserved.
E. Photon possesses a positive charge.
Choose the correct answer from the options given below:
Two bodies \(A\) and \(B\) of the same mass undergo a completely inelastic one-dimensional collision. Body \(A\) moves with velocity \(v_1\) while body \(B\) is at rest before the collision. The velocity of the system after the collision is \(v_2\). The ratio \(v_1 : v_2\) is:
The moment of inertia of a thin rod about an axis passing through its midpoint and perpendicular to the rod is \(2400 \, \mathrm{g \, cm^2}\). The length of the \(400 \, \mathrm{g}\) rod is nearly:
The graph which shows the variation of \((1/\lambda^2)\) and its kinetic energy, \(E\), is (where \(\lambda\) is de Broglie wavelength of a free particle):
In a uniform magnetic field of \(0.049 \, \mathrm{T}\), a magnetic needle performs \(20\) complete oscillations in \(5 \, \mathrm{s}\). The moment of inertia of the needle is \(9.8 \times 10^{-6} \, \mathrm{kg \, m^2}\). If the magnitude of the magnetic moment of the needle is \(x \times 10^{-5} \, \mathrm{Am^2}\), then the value of \(x\) is:
An unpolarised light beam strikes a glass surface at Brewster's angle. Then:
At any instant of time \(t\), the displacement of any particle is given by \(2t - 1 \, (\mathrm{SI \, unit})\) under the influence of a force of \(5 \, \mathrm{N}\). The value of instantaneous power is (in SI unit):
A tightly wound \(100\)-turns coil of radius \(10 \, \mathrm{cm}\) carries a current of \(7 \, \mathrm{A}\). The magnitude of the magnetic field at the center of the coil is (Take permeability of free space as \(4 \pi \times 10^{-7} \, \mathrm{SI \, units}\)):
The moment of inertia of a thin rod about an axis passing through its midpoint and perpendicular to the rod is \(2400 \, \mathrm{g \, cm^2}\). The length of the \(400 \, \mathrm{g}\) rod is nearly:
A bob is whirled in a horizontal plane by means of a string with an initial speed of \(\omega \, \mathrm{rpm}\). The tension in the string is \(T\). If speed becomes \(2\omega\) while keeping the same radius, the tension in the string becomes:
Match List-I with List-II.
In the following circuit, the equivalent capacitance between terminal A and terminal B is:
A horizontal force of \(10 \, \mathrm{N}\) is applied to a block \(A\) as shown in the figure. The masses of blocks \(A\) and \(B\) are \(2 \, \mathrm{kg}\) and \(3 \, \mathrm{kg}\), respectively. The blocks slide over a frictionless surface. The force exerted by block \(A\) on block \(B\) is:
In the nuclear emission stated below, the mass number and atomic number of the product \( Q \) respectively, are:
\[ \prescript{290}{82}X \xrightarrow{\alpha} Y \xrightarrow{e^+} Z \xrightarrow{\beta^-} P \xrightarrow{e^-} Q \]
In a vernier callipers, \((N + 1)\) divisions of vernier scale coincide with \(N\) divisions of the main scale. If 1 MSD represents \(0.1 \, \mathrm{mm}\), the vernier constant (in cm) is:
If \(x = 5 \sin\left(\pi t+\frac{\pi }{3}\right) \, \mathrm{m}\) represents the motion of a particle executing simple harmonic motion, the amplitude and time period of the motion, respectively, are:
In the above diagram, a strong bar magnet is moving towards solenoid-2 from solenoid-1. The direction of induced current in solenoid-1 and that in solenoid-2, respectively, are through the directions:

A logic circuit provides the output \(Y\) as per the following truth table:
The expression for the output \(Y\) is:
A wire of length \(l\) and resistance \(100 \, \Omega\) is divided into 10 equal parts. The first 5 parts are connected in series, while the next 5 parts are connected in parallel. The two combinations are again connected in series. The resistance of this final combination is:
The output (\(Y\)) of the given logic gate is similar to the output of an:
A thin spherical shell is charged by some source. The potential difference between the two points \(C\) and \(P\) (in \(V\)) shown in the figure is: (Take \(\frac{1}{4 \pi \epsilon_0} = 9 \times 10^9 \, \mathrm{SI \, units}\)):
The mass of a planet is \(\frac{1}{10}\) that of the earth, and its diameter is half that of the earth. The acceleration due to gravity on that planet is:
The minimum energy required to launch a satellite of mass \(m\) from the surface of Earth of mass \(M\) and radius \(R\) into a circular orbit at an altitude of \(2R\) from the surface is:
A small telescope has an objective of focal length \(140 \, \mathrm{cm}\) and an eyepiece of focal length \(5.0 \, \mathrm{cm}\). The magnifying power of the telescope for viewing a distant object is:
The velocity (\(v\)) – time (\(t\)) plot of the motion of a body is shown below:
The acceleration (\(a\)) – time (\(t\)) graph that best suits this motion is:
Two heaters \(A\) and \(B\) have power ratings of \(1 \, \mathrm{kW}\) and \(2 \, \mathrm{kW}\), respectively. The two are first connected in series and then in parallel to a fixed power source. The ratio of power outputs for these two cases is:
A force defined by \(F = \alpha t^2 + \beta t\) acts on a particle at a given time \(t\). The factor which is dimensionless, if \(\alpha\) and \(\beta\) are constants, is:
A \(10 \, \mu\mathrm{F}\) capacitor is connected to a \(210 \, \mathrm{V}\), \(50 \, \mathrm{Hz}\) source as shown in figure. The peak current in the circuit is nearly (\(\pi = 3.14\)):
A metallic bar of Young’s modulus, \(0.5 \times 10^{11} \, \mathrm{N/m^2}\) and coefficient of linear thermal expansion \(10^{-5} \, ^\circ\mathrm{C}^{-1}\), length \(1 \, \mathrm{m}\), and area of cross-section \(10^{-3} \, \mathrm{m^2}\) is heated from \(0^\circ\mathrm{C}\) to \(100^\circ\mathrm{C}\) without expansion or bending. The compressive force developed in it is:
A parallel plate capacitor is charged by connecting it to a battery through a resistor. If \(I\) is the current in the circuit, then in the gap between the plates:
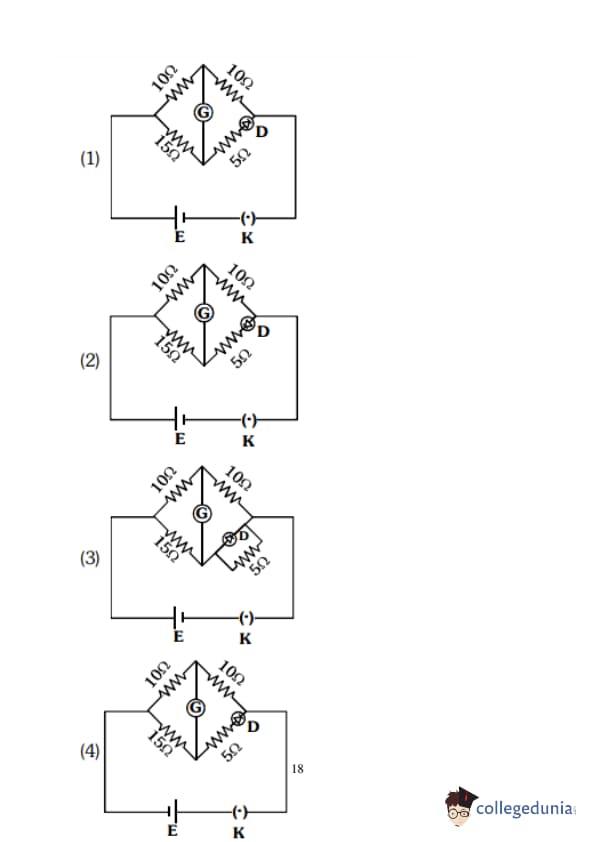
Choose the correct circuit which can achieve the bridge balance.
A sheet is placed on a horizontal surface in front of a strong magnetic pole. A force is needed to:
A. Hold the sheet there if it is magnetic.
B. Hold the sheet there if it is non-magnetic.
C. Move the sheet away from the pole with uniform velocity if it is conducting.
D. Move the sheet away from the pole with uniform velocity if it is both, non-conducting and non-polar.
Choose the correct statement(s) from the options given below:
If the plates of a parallel plate capacitor connected to a battery are moved close to each other, then:
A. The charge stored in it increases.
B. The energy stored in it decreases.
C. Its capacitance increases.
D. The ratio of charge to its potential remains the same.
E. The product of charge and voltage increases.
Choose the most appropriate answer from the options given below:
The following graph represents the T-V curves of an ideal gas (where \(T\) is the temperature and \(V\) the volume) at three pressures \(P_1\), \(P_2\), and \(P_3\) compared with those of Charles's law represented as dotted lines.
The property which is not of an electromagnetic wave traveling in free space is that:
An iron bar of length \(L\) has magnetic moment \(M\). It is bent at the middle of its length such that the two arms make an angle \(60^\circ\) with each other. The magnetic moment of this new magnet is:
Question 52:
If the mass of the bob in a simple pendulum is increased to thrice its original mass and its length is made half its original length, then the new time period of oscillation is \(\frac{x}{2}\) times its original time period. The value of \(x\) is:
The reagents with which glucose does not react to give the corresponding tests/products are:
A. Tollen’s reagent
B. Schiff’s reagent
C. HCN
D. \(NH_2OH\)
E. \(NaHSO_3\)
Choose the correct options from the given below:
The energy of an electron in the ground state (\(n = 1\)) for \(He^+\) ion is \(-x\) J. Then that for an electron in \(n = 2\) state for \(Be^{3+}\) ion in J is:
Which reaction is NOT a redox reaction?
Match List I with List II.
Choose the correct answer from the options given below:
For the reaction \(2A \rightleftharpoons B + C\), \(K_c = 4 \times 10^{-3}\). At a given time, the composition of the reaction mixture is: [A] = [B] = [C] = \(2 \times 10^{-3}\) M. Then, which of the following is correct?
Match List I with List II.
In which of the following processes does entropy increase?
A. A liquid evaporates to vapor.
B. Temperature of a crystalline solid is lowered from 130 K to 0 K.
C. \( 2NaHCO_3 (s) \rightarrow Na_2CO_3 (s) + CO_2 (g) + H_2O (g) \)
D. \( Cl_2 (g) \rightarrow 2Cl(g) \)
Choose the correct answer from the options given below:
Identify the correct reagents that would bring about the following transformation.
Match List I with List II:
In which of the following equilibria are \(K_p\) and \(K_c\) NOT equal?
Which one of the following alcohols reacts instantaneously with Lucas reagent?
Given below are two statements:
Statement I: The boiling point of three isomeric pentanes follows the order \(n\)-pentane \(>\) isopentane \(>\) neopentane.
Statement II: When branching increases, the molecule attains a shape of a sphere. This results in smaller surface area for contact, due to which the intermolecular forces between the spherical molecules are weak, thereby lowering the boiling point.
Choose the most appropriate answer from the options given below:
Given below are two statements:
Statement I: Aniline does not undergo Friedel-Crafts alkylation reaction.
Statement II: Aniline cannot be prepared through Gabriel synthesis.
Choose the correct answer from the options given below:
The \(E^\circ\) value for the \(\mathrm{Mn^{3+}/Mn^{2+}}\) couple is more positive than that of \(\mathrm{Cr^{3+}/Cr^{2+}}\) or \(\mathrm{Fe^{3+}/Fe^{2+}}\) due to change of:
On heating, some solid substances change directly to vapor without passing through the liquid state. The purification method based on this principle is known as:
Fehling’s solution 'A' is:
Question 69:
Match List I with List II.
Intramolecular hydrogen bonding is present in:
The highest number of helium atoms is in:
Match List I with List II.
Among Group 16 elements, which one does NOT show \(-2\) oxidation state?
‘Spin only’ magnetic moment is the same for which of the following ions?
A. \(Ti^{3+}\)
B. \(Cr^{2+}\)
C. \(Mn^{2+}\)
D.\(Fe^{2+}\)
E. \(Sc^{3+}\)
A compound with a molecular formula of \(C_6H_{14}\) has two tertiary carbons. Its IUPAC name is:
The Henry's law constant (\(K_H\)) values of three gases (A, B, C) in water are \(145 ,\ 2 \times 10^ {-5} and \ 35 \ \mathrm{kbar}\), \(2 \times 10^{-5} \, \mathrm{kbar}\), and \(35 \, \mathrm{kbar}\), respectively. The solubility of these gases in water follows the order:
The compound that will undergo \( SN_1 \) reaction with the fastest rate is:
The most stable carbocation among the following is:
View Solution
Given below are two statements:
Statement I: Both \([Co(NH_3)_6]^{3+}\) and \([CoF_6]^{3-}\) complexes are octahedral but differ in their magnetic behavior.
Statement II: \([Co(NH_3)_6]^{3+}\) is diamagnetic whereas \([CoF_6]^{3-}\) is paramagnetic.
In the light of the above statements, choose the correct answer from the options given below:
1 gram of sodium hydroxide was treated with \(25 \, \mathrm{mL}\) of \(0.75 \, \mathrm{M} \, \mathrm{HCl}\). The mass of sodium hydroxide left unreacted is equal to:
Given below are two statements:
Statement I: The boiling point of hydrides of Group 16 elements follows the order \( H_2O \(>\) H_2Te \(>\) H_2Se \(>\) H_2S \).
Statement II: On the basis of molecular mass, \( H_2O \) is expected to have a lower boiling point than the other members of the group, but due to the presence of extensive hydrogen bonding in \( H_2O \), it has a higher boiling point.
Choose the correct answer from the options given below:
Arrange the following elements in increasing order of first ionization enthalpy: Li, Be, B, C, N.
Activation energy of any chemical reaction can be calculated if one knows the value of:
Arrange the following elements in increasing order of electronegativity: N, O, F, C, Si.
Choose the correct answer from the options given below:
Match List I with List II.
Match List I with List II.
Which plot of \(\ln k\) vs \(\frac{1}{T}\) is consistent with the Arrhenius equation?
The work done during reversible isothermal expansion of one mole of hydrogen gas at 25°C from pressure of 20 atmosphere to 10 atmosphere is (Given \(R = 2.0 \, cal mol^{-1} \, K^{-1}\)):
Identify the correct answer.
Major products A and B formed in the following reaction sequence, are:
The pair of lanthanoid ions which are diamagnetic is:
A compound X contains 32% of A, 20% of B and the remaining percentage of C. Then, the empirical formula of X is: (Given atomic masses of A = 64; B = 40; C = 32 u)
Given below are certain cations. Using inorganic qualitative analysis, arrange them in increasing group number from 0 to VI.
A. Al\(^{3+}\)
B. Cu\(^{2+}\)
C. Ba\(^{2+}\)
D. Co\(^{2+}\)
E. Mg\(^{2+}\)
Consider the following reaction in a sealed vessel at equilibrium with concentrations of N\(_2\) = \(3.0 \times 10^{-3}\) M, O\(_2\) = \(4.2 \times 10^{-3}\) M, and NO = \(2.8 \times 10^{-3}\) M.
\[ 2NO(g) \rightleftharpoons N_2(g) + O_2(g) \]
If 0.1 mol L\(^{-1}\) of NO(g) is taken in a closed vessel, what will be the degree of dissociation (\(\alpha\)) of NO(g) at equilibrium?
The rate of a reaction quadruples when temperature changes from 27°C to 57°C. Calculate the energy of activation. Given \(R = 8.314 \, J K^{-1} \, mol^{-1}\), \(log_4\) = 0.6021
During the preparation of Mohr's salt solution (Ferrous ammonium sulphate), which of the following acid is added to prevent hydrolysis of Fe\(^{2+}\) ion?
Identify the major product C formed in the following reaction sequence:
Mass in grams of copper deposited by passing 9.6487 A current through a voltmeter containing copper sulphate solution for 100 seconds is (Given: Molar mass of Cu: 63 g mol\(^{-1}\), 1 F = 96487 C):
For the given reaction:
'P' is
Given below are two statements:
Statement I: \([Co(NH_3)_6]^{3+}\) is a homoleptic complex, whereas \([Co(NH_3)_4Cl_2]^+\) is a heteroleptic complex.
Statement II: Complex \([Co(NH_3)_6]^{3+}\) has only one kind of ligands but \([Co(NH_3)_4Cl_2]^+\) has more than one kind of ligands.
Choose the correct answer from the options given below:
The plot of osmotic pressure (\(\Pi\)) vs concentration (mol L\(^{-1}\)) for a solution gives a straight line with slope 25.73 L bar mol\(^{-1}\). The temperature at which the osmotic pressure measurement is done is (Use \(R = 0.083 \, L bar mol^{-1} K^{-1}\)):
The products A and B obtained in the following reactions, respectively, are:
\[ 3ROH + PCl_3 \to 3RCl + A \] \[ ROH + PCl_5 \to RCl + HCl + B \]
Auxin is used by gardeners to prepare weed-free lawns. But no damage is caused to grass as auxin
Lecithin, a small molecular weight organic compound found in living tissues, is an example of:
Match List I with List II
Choose the correct answer from the options given below:
Identify the set of correct statements:
A. The flowers of Vallisneria are colourful and produce nectar.
B. The flowers of water lily are not pollinated by water.
C. In most of water-pollinated species, the pollen grains are protected from wetting.
D. Pollen grains of some hydrophytes are long and ribbon-like.
E. In some hydrophytes, the pollen grains are carried passively inside water.
Choose the correct answer from the options given below:
List of endangered species was released by
What is the fate of a piece of DNA carrying only the gene of interest which is transferred into an alien organism?
Which of the following are required for the dark reaction of photosynthesis?
A. Light
B. Chlorophyll
C. CO₂
D. ATP
E. NADPH
Choose the correct answer from the options given below:
The type of conservation in which the threatened species are taken out from their natural habitat and placed in special settings where they can be protected and given special care is called
Given below are two statements:
Statement I: Bt toxins are insect group specific and coded by a gene cry IAc.
Statement II: Bt toxin exists as inactive protoxin in B. thuringiensis. However, after ingestion by the insect, the inactive protoxin gets converted into the active form due to the acidic pH of the insect gut.
In the light of the above statements, choose the correct answer from the options given below:
A transcription unit in DNA is defined primarily by the three regions in DNA and these are with respect to upstream and downstream ends;
In the given figure, which component has thin outer walls and highly thickened inner walls?
Hind II always cuts DNA molecules at a particular point called recognition sequence, and it consists of:
Identify the type of flowers based on the position of calyx, corolla, and androecium with respect to the ovary from the given figures (a) and (b)
Which of the following is an example of an actinomorphic flower?
Which one of the following is not a criterion for classification of fungi?
The equation of Verhulst-Pearl logistic growth is \[ \frac{dN}{dt} = rN \left( 1 - \frac{N}{K} \right) \]
From this equation, \( K \) indicates:
Which one of the following can be explained on the basis of Mendel's Law of Dominance?
A. Out of one pair of factors, one is dominant and the other is recessive.
B. Alleles do not show any expression, and both the characters appear as such in F2 generation.
C. Factors occur in pairs in normal diploid plants.
D. The discrete unit controlling a particular character is called factor.
E. The expression of only one of the parental characters is found in a monohybrid cross.
Choose the correct answer from the options given below:
Match List I with List II
Choose the correct answer from the options given below:
Inhibition of Succinic dehydrogenase enzyme by malonate is a classical example of:
Formation of interfascicular cambium from fully developed parenchyma cells is an example of
A pink flowered Snapdragon plant was crossed with a red flowered Snapdragon plant. What type of phenotype/s is/are expected in the progeny?
In a plant, black seed color (BB/Bb) is dominant over white seed color (bb). In order to find out the genotype of the black seed plant, with which of the following genotype will you cross it?
Match List I with List II
Choose the correct answer from the options given below:
How many molecules of ATP and NADPH are required for every molecule of CO₂ fixed in the Calvin cycle?
The capacity to generate a whole plant from any cell of the plant is called:
Tropical regions show the greatest level of species richness because
A. Tropical latitudes have remained relatively undisturbed for millions of years, hence more time was available for species diversification.
B. Tropical environments are more seasonal.
C. More solar energy is available in tropics.
D. Constant environments promote niche specialization.
E. Tropical environments are constant and predictable.
Choose the correct answer from the options given below:
Match List I with List II
Choose the correct answer from the options given below:
Identify the part of the seed from the given figure which is destined to form the root when the seed germinates.
Spindle fibers attach to kinetochores of chromosomes during
Given below are two statements:
Statement I: Chromosomes become gradually visible under light microscope during the leptotene stage.
Statement II: The beginning of the diplotene stage is recognized by the dissolution of the synaptonemal complex.
In the light of the above statements, choose the correct answer from the options given below:
Given below are two statements:
Statement I: Parenchyma is living, but collenchyma is dead tissue.
Statement II: Gymnosperms lack xylem vessels, but the presence of xylem vessels is the characteristic of angiosperms.
In the light of the above statements, choose the correct answer from the options given below:
These are regarded as major causes of biodiversity loss:
A. Over exploitation
B. Co-extinction
C. Mutation
D. Habitat loss and fragmentation
E. Migration
Choose the correct option:
The lactose present in the growth medium of bacteria is transported to the cell by the action of
Bulliform cells are responsible for
The cofactor of the enzyme carboxypeptidase is:
Read the following statements and choose the set of correct statements:
In the members of Phaeophyceae,
A. Asexual reproduction occurs usually by biflagellate zoospores.
B. Sexual reproduction is by oogamous method only.
C. Stored food is in the form of carbohydrates which is either mannitol or laminarin.
D. The major pigments found are chlorophyll a, c and carotenoids and xanthophyll.
E. Vegetative cells have a cellulosic wall, usually covered on the outside by gelatinous coating of algin.
Choose the correct answer from the options given below:
Match List I with List II
Choose the correct answer from the options given below:
Given below are two statements:
Statement I: In C3 plants, some O2 binds to RuBisCO, hence CO2 fixation is decreased.
Statement II: In C4 plants, mesophyll cells show very little photorespiration while bundle sheath cells do not show photorespiration.
In the light of the above statements, choose the correct answer from the options given below:
The DNA present in chloroplast is:
In an ecosystem, if the Net Primary Productivity (NPP) of the first trophic level is 100x (kcal m–2 yr–1), what would be the GPP (Gross Primary Productivity) of the third trophic level of the same ecosystem?
Which of the following are fused in somatic hybridization involving two varieties of plants?
Match List I with List II
Choose the correct answer from the options given below:
Match List I with List II
Choose the correct answer from the options given below:
Match List I with List II
Choose the correct answer from the options given below:
Identify the correct description about the given figure:
Match List-I with List-II
Choose the correct answer from the options given below:
Identify the step in tricarboxylic acid cycle, which does not involve oxidation of substrate.
Spraying sugarcane crop with which of the following plant growth regulators increases the length of stem, thus, increasing the yield?
Match List I with List II
Choose the correct answer from the options given below:
Which of the following statement is correct regarding the process of replication in E. coli?
Match List I with List
II:
Choose the correct answer from the options given below:
Which of the following is not a component of the Fallopian tube?
The “Ti plasmid” of Agrobacterium tumefaciens stands for:
Match List I with List II:
Choose the correct answer from the options given below:
Given below are two statements: One is labelled as Assertion A and the other is labelled as Reason R:
Assertion A: FSH acts upon ovarian follicles in female and Leydig cells in male.
Reason R: Growing ovarian follicles secrete estrogen in female while interstitial cells secrete androgen in male human being.
In the light of the above statements, choose the correct answer from the options given below:
Match List I with List II:
Choose the correct answer from the options given below:
Given below are some stages of human evolution. Arrange them in correct sequence. (Past to Recent)
A. Homo habilis
B. Homo sapiens
C. Homo neanderthalensis
D. Homo erectus
Choose the correct sequence of human evolution from the options given below:
Which of the following are Autoimmune disorders?
A. Myasthenia gravis
B. Rheumatoid arthritis
C. Gout
D. Muscular dystrophy
E. Systemic Lupus Erythematosus (SLE)
Choose the most appropriate answer from the options given below:
Match List I with List II:
Choose the correct answer from the options given below:
Match List I with List II:
Choose the correct answer from the options given below:
Match List I with List II:
Choose the correct answer from the options given below:
Three types of muscles are given as a, b, and c. Identify the correct matching pair along with their location in the human body:
Name of muscle/location
Match List I with List II:
Choose the correct answer from the options given below:
Match List I with List II:
Choose the correct answer from the options given below:
Which of the following statements is incorrect?
Match List I with List II:
Choose the correct answer from the options given below:
The following diagram shows restriction sites in E. coli cloning vector pBR322. Find the role of ‘X’ and ‘Y’ genes:
Given below are two statements: One is labelled as Assertion A and the other is labelled as Reason R:
Assertion A: The presence or absence of hymen is not a reliable indicator of virginity.
Reason R: The hymen is torn during the first coitus only.
In the light of the above statements, choose the correct answer from the options given below:
Consider the following statements:
A. Annelids are true coelomates.
B. Poriferans are pseudocoelomates.
C. Aschelminthes are acoelomates.
D. Platyhelminthes are pseudocoelomates.
Choose the correct answer from the options given below:
Given below are two statements:
Statement I: In the nephron, the descending limb of the loop of Henle is impermeable to water and permeable to electrolytes.
Statement II: The proximal convoluted tubule is lined by simple columnar brush border epithelium and increases the surface area for reabsorption.
In the light of the above statements, choose the correct answer from the options given below:
Following are the stages of cell division:
A. Gap 2 phase
B. Cytokinesis
C. Synthesis phase
D. Karyokinesis
E. Gap 1 phase
Choose the correct sequence of stages from the options given below:
In both sexes of cockroach, a pair of jointed filamentous structures called anal cerci are present on:
Match List I with List II:
Choose the correct answer from the options given below:
Which of the following is not a steroid hormone?
Following are the stages of the pathway for conduction of an action potential through the heart:
A. AV bundle \quad B. Purkinje fibres \quad C. AV node \quad D. Bundle branches \quad E. SA node
Choose the correct sequence of the pathway from the options given below:
Match List I with List II
Choose the correct answer from the options given below:
Which of the following is not a natural/traditional contraceptive method?
Which one is the correct product of DNA-dependent RNA polymerase to the given template?
3’TACATGGCAAATATCCATTCA5’
Which one of the following factors will not affect the Hardy-Weinberg equilibrium?
Match List I with List II:
Choose the correct answer from the options given below:
Match List I with List II:
Choose the correct answer from the options given below:
Match List I with List II

Choose the correct answer from the options given below:
Given below are two statements: One is labelled as Assertion A and the other is labelled as Reason R:
Assertion A: Breast-feeding during the initial period of infant growth is recommended by doctors for bringing a healthy baby.
Reason R: Colostrum contains several antibodies absolutely essential to develop resistance for the newborn baby.
In the light of the above statements, choose the most appropriate answer from the options given below:
The flippers of the Penguins and Dolphins are the example of:
Which of the following factors are favourable for the formation of oxyhaemoglobin in alveoli?
Match List I with List II:
Choose the correct answer from the options given below:
Choose the correct statement given below regarding juxta medullary nephron:
Identify the correct option (A), (B), (C), (D) with respect to spermatogenesis.
Match List I with List II:
Choose the correct answer from the options given below:
Given below are two statements:
Statement I: Bone marrow is the main lymphoid organ where all blood cells including lymphocytes are produced.
Statement II: Both bone marrow and thymus provide microenvironments for the development and maturation of T-lymphocytes.
In the light of the above statements, choose the most appropriate answer from the options given below:
Given below are two statements:
Statement I: Gause's competitive exclusion principle states that two closely related species competing for different resources cannot exist indefinitely.
Statement II: According to Gause's principle, during competition, the inferior will be eliminated. This may be true if resources are limiting.
In the light of the above statements, choose the correct answer from the options given below:
Match List I with List II:
Choose the correct answer from the options given below:
Match List I with List II related to digestive system of cockroach:
Choose the correct answer from the options given below:
As per ABO blood grouping system, the blood group of father is B+, mother is A+ and child is O+. Their respective genotype can be:
Match List I with List II:
Choose the correct answer from the options given below:
Match List I with List II:
Choose the correct answer from the options given below:
Given below are two statements:
Statement I: The cerebral hemispheres are connected by a nerve tract known as corpus callosum.
Statement II: The brain stem consists of the medulla oblongata, pons and cerebrum.
In the light of the above statements, choose the most appropriate answer from the options given below:
Regarding catalytic cycle of an enzyme action, select the correct sequential steps:
A. Substrate-enzyme complex formation.
B. Free enzyme ready to bind with another substrate.
C. Release of products.
D. Chemical bonds of the substrate broken.
E. Substrate binding to active site.
Choose the correct answer from the options given below:
Given below are two statements:
Statement I: Mitochondria and chloroplasts both are double-membrane bound organelles.
Statement II: Inner membrane of mitochondria is relatively less permeable, as compared to chloroplast.
In the light of the above statements, choose the most appropriate answer from the options given below:
The following are the statements about non-chordates:
A. Pharynx is perforated by gill slits.
B. Notochord is absent.
C. Central nervous system is dorsal.
D. Heart is dorsal if present.
E. Post anal tail is absent.
Choose the most appropriate answer from the options given below:
NEET Previous Year Question Papers with Answer Keys
| NEET 2023 Question Papers | NEET 2022 Question Papers | NEET 2021 Question Papers |
| NEET 2020 Question Papers | NEET 2019 Question Papers | NEET 2018 Question Papers |







Comments