NEET 2024 Question paper with answer key pdf S3 is available for download. NEET 2024 S3 question paper has been conducted by the NTA on May 5, 2024, in pen-paper mode. NEET 2024 question paper code S3 consists of 200 MCQs- 180 to be attempted in 200 minutes. Each of the 4 subjects (Zoology, Botany, Chemistry, Physics) in NEET S3 question paper 2023 have 50 MCQs (45 to be attempted). You can download NEET 2024 question paper with answer key with solutions PDF for S3 using the links given below.
Download NEET 2025 Question Paper PDFs for all Codes
Related Links:
- Download NEET Previous Year Question Papers PDF with Solutions
- Download NEET 2024 Question Paper for all Shifts
NEET 2024 Question Paper with Answer Key PDF S3 in English
| NEET 2024 Question Paper with Answer Key (Q3) | Check Solution |

A wheel of a bullock cart is rolling on a level road as shown in the figure below. If its linear speed is \(v\) in the direction shown, which one of the following options is correct (P and Q are the highest and lowest points on the wheel, respectively)?

Options:
The output (Y) of the given logic gate is similar to the output of an/a:

Options:
The graph which shows the variation of \(\left(\frac{1}{\lambda^2}\right)\) and its kinetic energy, \(E\) is (where \(\lambda\) is de Broglie wavelength of a free particle):

Options:
In the above diagram, a strong bar magnet is moving towards solenoid-2 from solenoid-1. The direction of induced current in solenoid-1 and that in solenoid-2, respectively, are through the directions:

Options:
A thermodynamic system is taken through the cycle abcd. The work done by the gas along the path \(bc\) is:

Options:
Two bodies \(A\) and \(B\) of same mass undergo completely inelastic one-dimensional collision. The body \(A\) moves with velocity \(v_1\) while body \(B\) is at rest before collision. The velocity of the system after collision is \(v_2\). The ratio \(v_1 : v_2\) is:
Options:
At any instant of time \(t\), the displacement of any particle is given by \(2t - 1\) (SI unit) under the influence of force of 5 N. The value of instantaneous power is (in SI unit):
Options:
A thin spherical shell is charged by some source. The potential difference between the two points C and P (in V) shown in the figure is:

Options:
A tightly wound 100 turns coil of radius 10 cm carries a current of 7 A. The magnitude of the magnetic field at the centre of the coil is (Take permeability of free space as \(4 \pi \times 10^{-7} \, SI units\)):
Options:
If the monochromatic source in Young's double slit experiment is replaced by white light, then:
Options:
The quantities which have the same dimensions as those of solid angle are:
Options:
The mass of a planet is \(\frac{1}{10}\) that of the earth and its diameter is half that of the earth. The acceleration due to gravity on that planet is:
Options:
A horizontal force of 10 N is applied to a block A as shown in figure. The mass of blocks A and B are 2 kg and 3 kg respectively. The blocks slide over a frictionless surface. The force exerted by block A on block B is:

Options:
In a uniform magnetic field of 0.049 T, a magnetic needle performs 20 complete oscillations in 5 seconds as shown. The moment of inertia of the needle is \(9.8 \times 10^{-6}\) kg m\(^2\). If the magnitude of magnetic moment of the needle is \(x \times 10^{-5}\) Am\(^2\), then the value of \(x\) is:
Options:
The terminal voltage of the battery, whose emf is 10 V and internal resistance 1 \(\Omega\), when connected through an external resistance of 4 \(\Omega\) as shown in the figure is:

Options:
If \(x = 5 \sin \left( \pi t + \frac{\pi}{3} \right)\) m represents the motion of a particle executing simple harmonic motion, the amplitude and time period of motion, respectively, are:
Options:
Match List-I with List-II:
List-I (Material)
A. Diamagnetic
B. Ferromagnetic
C. Paramagnetic
D. Non-magnetic
List-II (Susceptibility \(\chi\))
I. \(\chi = 0\)
II. \(0 < \chi < 1\)
III. \(\chi >> 1\)
IV. \(\chi > 0\) (a small positive number)
Choose the correct answer from the options given below:
Options:
Consider the following statements A and B and identify the correct answer:
A. For a solar-cell, the I-V characteristics lies in the IV quadrant of the given graph.
B. In a reverse biased pn junction diode, the current measured in \(\mu\)A, is due to majority charge carriers.
Options:
Given below are two statements:
Statement I: Atoms are electrically neutral as they contain equal number of positive and negative charges.
Statement II: Atoms of each element are stable and emit their characteristic spectrum.
In the light of the above statements, choose the most appropriate answer from the options given below:
Options:
In a vernier calipers, \((N + 1)\) divisions of vernier scale coincide with \(N\) divisions of main scale. If 1 MSD represents 0.1 mm, the vernier constant (in cm) is:
Options:
In an ideal transformer, the turns ratio is \(N_p : N_s = 1 : 2\). The ratio \(V_s : V_p\) is equal to (the symbols carry their usual meaning):
Options:
An unpolarised light beam strikes a glass surface at Brewster’s angle. Then:
Options:
Match List-I with List-II:
List I (Spectral Lines of Hydrogen for transitions from)
A. \(n_2 = 3\) to \(n_1 = 2\)
B. \(n_2 = 4\) to \(n_1 = 2\)
C. \(n_2 = 5\) to \(n_1 = 2\)
D. \(n_2 = 6\) to \(n_1 = 2\)
List II (Wavelengths (nm))
I. 410.2
II. 434.1
III. 656.3
IV. 486.1
Choose the correct answer from the options given below:
Options:
A wire of length \(l\) and resistance 100 \(\Omega\) is divided into 10 equal parts. The first 5 parts are connected in series while the next 5 parts are connected in parallel. The two combinations are again connected in series. The resistance of this final combination is:
Options:
A light ray enters through a right-angled prism at point P with the angle of incidence 30° as shown. It travels through the prism parallel to its base BC and emerges along the face AC. The refractive index of the prism is:

Options:
A particle moving with uniform speed in a circular path maintains:
Options:
In the nuclear emission stated above, the mass number and atomic number of the product Q respectively, are:
Options:
Given below are two statements: one is labelled as Assertion A and the other is labelled as Reason R.
Assertion A: The potential (V) at any axial point, at 2 m distance (r) from the centre of the dipole of dipole moment vector \(\vec{P}\) of magnitude, \(4 \times 10^{-6}\) C m, is \(9 \times 10^3\) V.
Reason R: \(V = \pm \frac{2P}{4 \pi \epsilon_0 r^2}\), where r is the distance of any axial point, situated at 2 m from the centre of the dipole.
In the light of the above statements, choose the correct answer from the options given below:
Options:
In the following circuit, the equivalent capacitance between terminal A and terminal B is:

Options:
If \(c\) is the velocity of light in free space, the correct statements about photon among the following are:
A. The energy of a photon is \(E = h \nu\).
B. The velocity of a photon is \(c\).
C. The momentum of a photon, \(p = \frac{h \nu}{c}\).
D. In a photon-electron collision, both total energy and total momentum are conserved.
E. Photon possesses positive charge.
Options:
A bob is whirled in a horizontal plane by means of a string with an initial speed of \(\omega\) rpm. The tension in the string is \(T\). If speed becomes \(2 \omega\) while keeping the same radius, the tension in the string becomes:
Options:
A logic circuit provides the output Y as per the following truth table:

The expression for the output Y is:
Options:
The maximum elongation of a steel wire of 1 m length if the elastic limit of steel and its Young’s modulus, respectively, are \(8 \times 10^8\) N m\(^{-2}\) and \(2 \times 10^{11}\) N m\(^{-2}\), is:
Options:
A thin flat circular disc of radius 4.5 cm is placed gently over the surface of water. If surface tension is \(0.07 \, N m^{-1}\), then the excess force required to take it away from the surface is:
Options:
The moment of inertia of a thin rod about an axis passing through its mid-point and perpendicular to the rod is 2400 g cm\(^2\). The length of the 400 g rod is nearly:
Options:
The minimum energy required to launch a satellite of mass \(m\) from the surface of earth of mass \(M\) and radius \(R\) in a circular orbit at an altitude of \(2R\) from the surface of the earth is:
Options:
A force defined by \(F = \alpha \beta + \beta t\) acts on a particle at a given time t. The factor which is dimensionless, if \(\alpha\) and \(\beta\) are constants, is:
Options:
A sheet is placed on a horizontal surface in front of a strong magnetic pole. A force is needed to:
A. hold the sheet there if it is magnetic.
B. hold the sheet there if it is non-magnetic.
C. move the sheet away from the pole with uniform velocity if it is conducting.
D. move the sheet away from the pole with uniform velocity if it is both, non-conducting and non-polar.
Choose the correct statement(s) from the options given below:
Options:
A 10 \(\mu\)F capacitor is connected to a 210 V, 50 Hz source as shown in the figure. The peak current in the circuit is nearly (take \(\pi = 3.14\)):

Options:
A small telescope has an objective of focal length 140 cm and an eye piece of focal length 5.0 cm. The magnifying power of the telescope for viewing a distant object is:
Options:
A metallic bar of Young's modulus \(0.5 \times 10^{11}\) N m\(^{-2}\) and coefficient of linear thermal expansion \(10^{-5}\) °C\(^{-1}\), length 1 m and area of cross-section \(10^{-3}\) m\(^2\) is heated from 0°C to 100°C without expansion or bending. The compressive force developed in it is:
Options:
If the plates of a parallel plate capacitor connected to a battery are moved close to each other, then:
Options:
A. the charge stored in it, increases.
B. the energy stored in it, decreases.
C. its capacitance increases.
D. the ratio of charge to its potential remains the same.
E. the product of charge and voltage increases.
Choose the most appropriate answer from the options given below:
Options:
The velocity (\(v\)) – time (\(t\)) plot of the motion of a body is shown below:

Two heaters A and B have power ratings of 1 kW and 2 kW, respectively. Those two are first connected in series and then in parallel to a fixed power source. The ratio of power outputs for these two cases is:
Options:
The property which is not of an electromagnetic wave travelling in free space is that:
Options:
A parallel plate capacitor is charged by connecting it to a battery through a resistor. If \(I\) is the current in the circuit, then in the gap between the plates:
Options:
If the mass of the bob in a simple pendulum is increased to thrice its original mass and its length is made half its original length, then the new time period of oscillation is \(\frac{1}{\sqrt{2}}\) times its original time period. Then the value of \(x\) is:
Options:
The following graph represents the \(T-V\) curves of an ideal gas (where \(T\) is the temperature and \(V\) the volume) at three pressures \(P_1\), \(P_2\) and \(P_3\) compared with those of Charles's law represented as dotted lines.

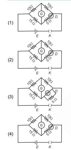
Choose the correct circuit which can achieve the bridge balance.

Options:
An iron bar of length \(L\) has magnetic moment \(M\). It is bent at the middle of its length such that the two arms make an angle of \(60^\circ\) with each other. The magnetic moment of this new magnet is:
Options:
NEET Previous Year Question Papers with Answer Keys
| NEET 2023 Question Papers | NEET 2022 Question Papers | NEET 2021 Question Papers |
| NEET 2020 Question Papers | NEET 2019 Question Papers | NEET 2018 Question Papers |







Comments